Компания подала заявку на изобретение, в которой описан способ обеспечения электроэнергией портативных устройств в течение длительного времени с помощью встроенного топливного элемента.

Выбор технологии топливных элементов связан с тем, что они в состоянии обеспечить несравнимо высокий уровень энергетической плотности, да и у современных пользователей все большей популярностью пользуется идея возобновляемых источников энергии. Поэтому компания не могла пройти мимо этой тенденции и решила реализовать ее в своих грядущих продуктах.
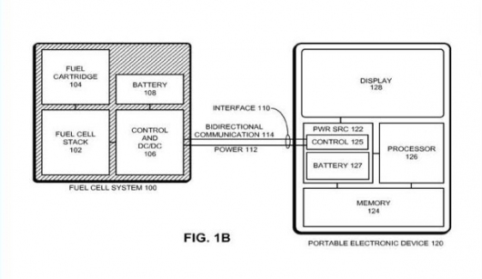
Главным отличием решения Apple, которое было направлено в патентное ведомство США, является совместная работа топливного элемента и традиционной батареи, которые «подзаряжают друг друга». Благодаря чему время автономной работы должно исчисляться едва ли не неделями. При этом отпадает необходимость в громоздкой и тяжелой батарее, а общая стоимость решения снижается.