
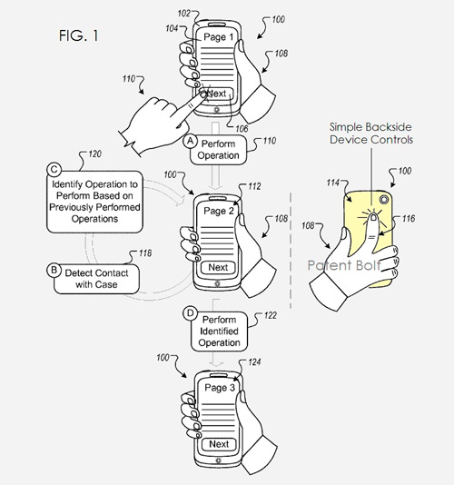
Google подала в Управление США по патентам и торговым маркам заявку на инновационную систему управления мобильными устройствами. Идея заключается в том, чтобы использовать тыльную сторону смартфона или планшета для управления — прокрутки, навигации и пр.
Предполагается, что устройство сможет распознавать движение пальца по задней поверхности корпуса благодаря встроенным сенсорам. При этом, он сможет отличать обычное прикосновение, когда рука держит аппарат, от скользящего движения.
Поддержка такой схемы управления, предположительно, появится в следующих версиях ОС Android. О сроках появления устройств с тыльным управлением пока ничего неизвестно.
Стоит отметить, что такая схема управления не нова и, более того, уже используется в некоторых устройствах. Например, последняя портативная консоль Sony — PlayStation Vita — имеет сенсорную область на тыльной стороне. Она используется как дополнительный элемент управления в играх и для навигации по меню.
Стратегія охолодження ЦОД для епохи AI
| 0 |
|


Самому довелось использовать заднюю тачпанель в Sony Vita - необычно, а еще раньше такое же было у Samsung в одном из плееров. Похоже, Google решила пойти по стопам Apple 8)