| +11 голос |
|

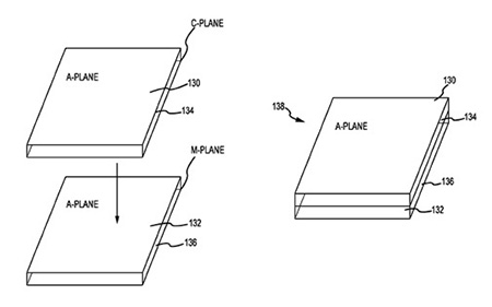
Apple подала заявку в Бюро США по патентам и товарным знакам, которая описывает использование в корпусе мобильных устройств сапфирового стекла — синтетического материала, который по твердости уступает лишь алмазу. Корпус смартфона или планшета из такого материала будет практически неразрушимым.
Для повышения прочности конструкции предлагается использовать слои из сапфирового стекла с различными свойствами. Например, верхний слой может иметь высокую устойчивость к ударам, а второй — к кручению. Комбинация таких слоев позволит создать крайне прочный корпус.
В заявке описаны также способы снижения стоимости сапфировых элементов до такой степени, чтобы их можно было использовать в массовой продукции. Для этого, к примеру, предлагается создавать многослойный материал, в котором сапфировое стекло будет сочетаться с обычным.
Сейчас Apple уже использует сапфировое стекло в конструкции своих смартфонов, но в куда меньших объемах. Таким стеклом защищены камеры смартфонов и сканер отпечатков пальцев в iPhone 5S.
Стратегія охолодження ЦОД для епохи AI
| +11 голос |
|

